Skip to content
我居公寓管理系统
Main Navigation
首页
电话/微信: 13418780533
Appearance
Menu
Return to top
On this page
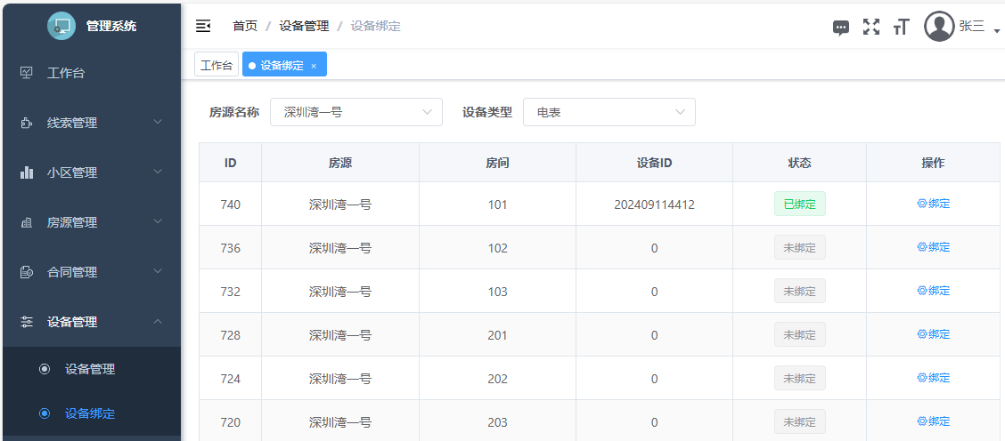
设备绑定
绑定电表、水表等设备ID后,智能设备自动把读数同步到系统,减少了人工操作。 可根据房源、设备类型搜索
点击列表后面的绑定可以修改绑定的设备