Skip to content

房间管理

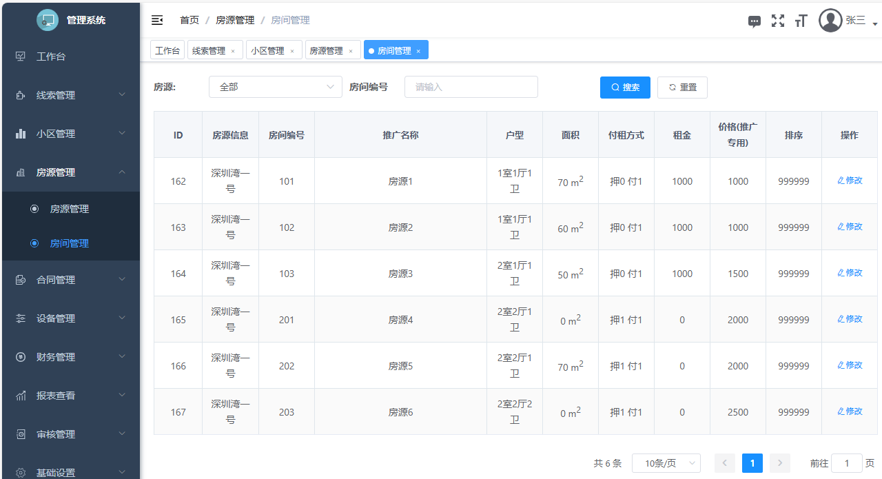
房间管理如图所示 右侧上面是搜索区域:可以根据名称、编号等条件搜索。
右侧下面是房间列表:有房源名称、房间编号、推广名称、户型等信息。

点击后面的修改 注意:红色字体部分是显示到小程序中的。